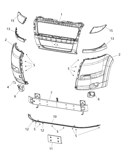
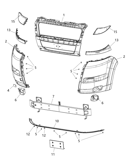
To ensure reliability, purchase Mopar part # 68191767AA Bumper Front Lower Crossmember. It is sometimes referred to as Mopar Axle Beam, Mopar Front Cross-Member. OEM parts, sourced straight from Mopar, are distinguished by their superior quality, durability, and precise fit. They are subjected to rigorous quality checks, assuring its safety, resilience, and performance that aligns with your original parts.
JeepPartsDeal.com is a leading supplier of genuine Mopar parts such as Mopar 68191767AA Bumper Front Lower Crossmember. Here on our website, we provide competitively priced genuine Mopar parts you can find. Our OEM Mopar parts are backed by the manufacturer's warranty. Additionally, all orders placed with us benefit from our hassle-free return policy and swift delivery service. For detailed Ram parts information, click here.















