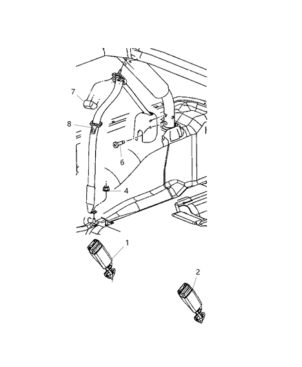
The Mopar part 5KP121DVAC Seat Belt Rear Outer comes from authorized Mopar dealerships in the United States which provide a warranty from the manufacturer. The Mopar Seat Belt component functions as a reliable support element for essential vehicle systems through its engineered design. This part 5KP121DVAC Seat Belt Rear Outer supports Jeep Wrangler. This item achieves top performance levels which can be identified through its Manufacturer Part Number: 5KP121DVAC. The authentic Mopar component produced by Mopar functions as a Seat Belt - Rear Outer and fits into the Rear Outer of the vehicle.
The part 5KP121DVAC uses durable material for construction and it weighs 2.30 Pounds while its dimensions are 5.3 x 6.3 x 6.3 inches. The product is offered in New condition and functions as a Direct Replacement part to maintain vehicle compatibility. This product has 5KP121DVAD as an alternative. This part 5KP121DVAC is necessary for every vehicle. The inventory system lists this product with SKU: 5KP121DVAC. The official Mopar supports this product which delivers dependable performance along with high quality. Our Shipping Policy and Return Policy pages contain all details about shipping and return procedures.
The original equipment manufacturer components give the excellent performance and ensure the leading-quality durability. This is because they employ official manufacturing technologies of Mopar, employ materials of high quality and can pass through the high standards of quality. If you're in the market for a new auto part, quality and fitment are likely your top priorities. Here at our website, we offer an extensive array of OEM Mopar parts at unbeatable prices, designed to meet all your needs, including affordability. Moreover, every one of our OEM Mopar parts comes with a manufacturer's warranty and can be speedily delivered straight to your doorstep.








