Purchasing OEM Mopar part 5047446AA Valve Intake Standard ensures optimal performance of your vehicle. The Mopar Intake Valve serves as an essential element for sustaining the integrity of your vehicle. The manufacturer-approved components from authorized dealerships in the United States offer the warranty protection you need. The part works specifically with Jeep Cherokee, Renegade, Compass. It also works with Dodge Dart. It is also compatible with Ram ProMaster City. This also fits Chrysler 200.
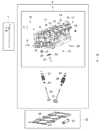
Built for your vehicle's engine system this genuine Mopar has been produced under Part Number: 5047446AA as a Valve Intake Standard product. The part 5047446AA Valve Intake Standard exists in New state while serving as a Direct Replacement component that ensures complete compatibility with your automobile to sustain engine effectiveness. The timing of air and fuel combination into the engine depends on proper operation of the intake valve because this timing determines performance and efficiency levels. A genuine Mopar valve represents a vital component since any malfunction will result in deficient engine combustion that impairs performance. Successful extension of engine life requires immediate replacement of all damaged intake valves. Engine valve spring removers along with compressors are mandatory replacement tools for this task because there are technical steps required to prevent additional problems. A warranty from Mopar supports this part alongside performance reliability which makes it a crucial purchase for your vehicle. Our Shipping Policy alongside our Return Policy contain complete information regarding delivery options and return processes.
The parts made by original equipment manufacturers are of high quality. They are designed using premium materials, in order to ensure that they last long, and are optimal to ensure that your vehicle delivers the top performance. Besides, they are made to meet official Mopar factory measurements, so that they can be installed with ease and give a flawless fastening. We offer all OEM Mopar products at the unbeatable prices. Need to return a part? No worries, we offer a hassle-free return policy. Please shop with confidence as all our OEM parts are backed by the manufacturer's warranty and are shipped straight to your doorstep.









![Mopar 6509036AA Stud Double Ended M10 X 1.25 X 43.80 [M10 X 1.25 X 43.80] Mopar 6509036AA Stud Double Ended M10 X 1.25 X 43.80 [M10 X 1.25 X 43.80]](/resources/encry/actual-picture/mpg/medium/7d472bd3ad1ee92cd2f25abd3bcddabc/2c7f14010a4a378dcb354859d0c5d230.jpg)


